| 索引号 | 1150022873397104X5/2026-00006 | 发文字号 | |
| 主题分类 | 建设规划 | 体裁分类 | 公告公示 |
| 发布机构 | 梁平区梁山街道办事处 | 有效性 | |
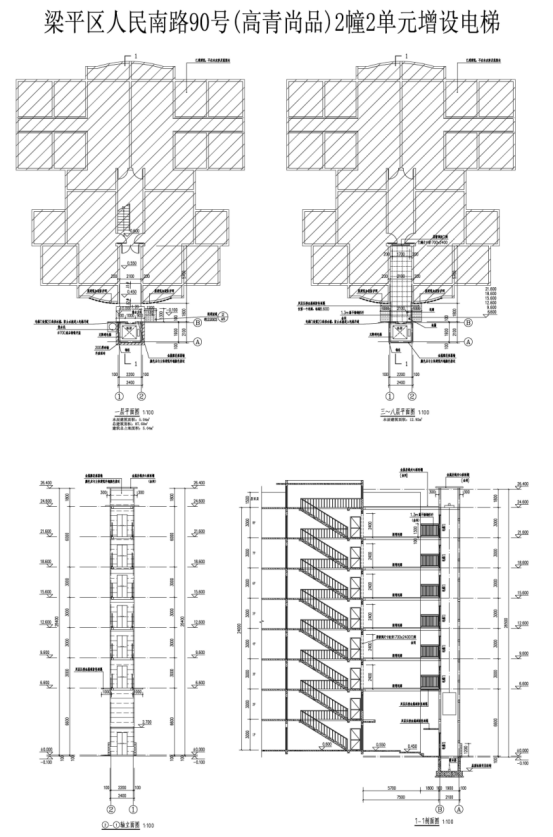
| 标题 | 重庆市梁平区梁山街道办事处关于人民南路90号(高青尚品)2幢2单元增设电梯的公示 | ||
| 成文日期 | 2026-01-16 | 发布日期 | 2026-01-16 |
| 索引号 | 1150022873397104X5/2026-00006 |
| 发文字号 | |
| 主题分类 | 建设规划 |
| 体裁分类 | 公告公示 |
| 发布机构 | 梁平区梁山街道办事处 |
| 有效性 | |
| 标题 | 重庆市梁平区梁山街道办事处关于人民南路90号(高青尚品)2幢2单元增设电梯的公示 |
| 成文日期 | 2026-01-16 |
| 发布日期 | 2026-01-16 |








