中国政府网
|
重庆市人民政府网
部门街镇
繁
无障碍
关怀版
登录
|
注册
注销
网站支持IPV6
部门
重庆市梁平区发展和改革委员会
重庆市梁平区教育委员会
重庆市梁平区科学技术局
重庆市梁平区经济和信息化委员会
重庆市梁平区公安局
重庆市梁平区民政局
重庆市梁平区司法局
重庆市梁平区财政局
重庆市梁平区人力资源和社会保障局
重庆市梁平区规划和自然资源局
重庆市梁平区生态环境局
重庆市梁平区住房和城乡建设委员会
重庆市梁平区城市管理局
重庆市梁平区交通运输委员会
重庆市梁平区水利局
重庆市梁平区农业农村委员会
重庆市梁平区商务委员会
重庆市梁平区文化和旅游发展委员会
重庆市梁平区卫生健康委员会
重庆市梁平区退役军人事务局
重庆市梁平区应急管理局
重庆市梁平区审计局
重庆市梁平区国有资产监督管理委员会
重庆市梁平区市场监督管理局
重庆市梁平区统计局
重庆市梁平区医疗保障局
重庆市梁平区信访办公室
重庆市梁平区林业局
重庆市梁平区大数据应用发展管理局
重庆市梁平区政务服务管理办公室
重庆梁平高新技术产业开发区管理委员会
重庆市梁平区供销合作社联合社
街镇
重庆市梁平区梁山街道办事处
重庆市梁平区双桂街道办事处
重庆市梁平区合兴街道办事处
重庆市梁平区仁贤街道办事处
重庆市梁平区金带街道办事处
重庆市梁平区蟠龙镇人民政府
重庆市梁平区星桥镇人民政府
重庆市梁平区复平镇人民政府
重庆市梁平区安胜镇人民政府
重庆市梁平区聚奎镇人民政府
重庆市梁平区礼让镇人民政府
重庆市梁平区明达镇人民政府
重庆市梁平区龙门镇人民政府
重庆市梁平区新盛镇人民政府
重庆市梁平区文化镇人民政府
重庆市梁平区屏锦镇人民政府
重庆市梁平区回龙镇人民政府
重庆市梁平区荫平镇人民政府
重庆市梁平区云龙镇人民政府
重庆市梁平区和林镇人民政府
重庆市梁平区铁门乡人民政府
重庆市梁平区袁驿镇人民政府
重庆市梁平区碧山镇人民政府
重庆市梁平区虎城镇人民政府
重庆市梁平区龙胜乡人民政府
重庆市梁平区竹山镇人民政府
重庆市梁平区七星镇人民政府
重庆市梁平区福禄镇人民政府
重庆市梁平区曲水镇人民政府
重庆市梁平区石安镇人民政府
重庆市梁平区紫照镇人民政府
重庆市梁平区柏家镇人民政府
重庆市梁平区大观镇人民政府
重庆市梁平区荫平镇人民政府
您当前的位置:
首页
>
重庆市梁平区荫平镇人民政府
>
政务公开
>
社会救助领域基层政务公开
>
服务指南
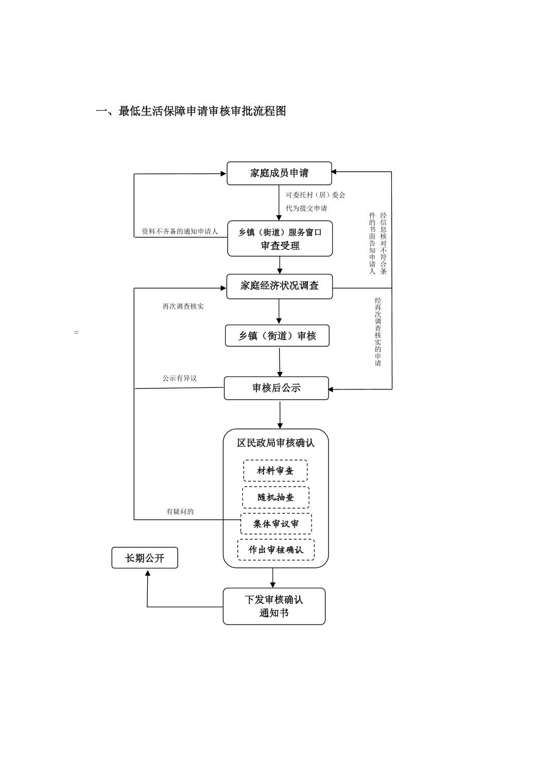
重庆市梁平区城乡居民最低生活保障申请办事指南
日期:2026-01-22
语音播报
语音合成中,请耐心等待...
进入播报模式
退出播报
【字号:
小
大
】
扫一扫在手机打开当前页
分享:
在线留言
15344304
重庆市梁平区城乡居民最低生活保障申请办事指南
489890
服务指南
20
重庆市梁平区民政局
2026-01-22